Характеристики
Отзывы
Характеристики
Основные
Артикул
071157
Бренд
Lightstar
страна происхождения
Китай
Коллекция
Monde
Стиль
современный
назначение помещения
ванная
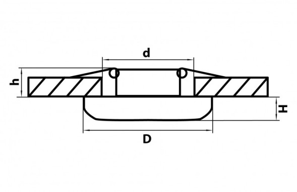
Размеры, внешний вид
Ширина
60 мм
Диаметр
60 мм
Высота
12 мм
регулировка по высоте
Нет
монтажное отверстие (диаметр)
55 мм
форма
круг
форма плафона
Круглый
поворотный
Нет
Цвет и материал
цвет арматуры
черный
материал арматуры
металл
цвет плафона
черный
материал плафона
металл
Лампы, электрика
тип лампы
LED
тип цоколя
встроенный светодиод
мощность лампы
5 Вт
лампы в комплекте
Да
мощность общая
5 Вт
подсветка
Нет
цвет свечения
белый (дневной)
напряжение
220 В
Дополнительно
способ крепления
Распорный механизм
тип монтажа
встраиваемый
степень защиты ip
44
вес коробки
0.195 кг
объем коробки, м3
0.001
размер коробки (ДхШхВ)
95х95х65
место установки
Врезные
штрихкод
4620754510936
Отзывов ещё нет — ваш может стать первым.
Все отзывы 0


































